中国经济网北京4月13日讯(记者朱国旺 杨奇奇)今日,上海市市场监管局公布2021年第一批虚假违法广告典型案例。其中,上海星和医疗美容门诊部因发布违法毒性药品广告被罚50万元。
上海市市场监管局发文称,2020年,上海市场监管部门共查处各类违法广告案件5674件,重拳打击医疗、防疫物资、保健食品、金融、房地产等民生相关领域虚假违法广告,有力保障了上海广告市场秩序稳定可控。

通告显示,上海星和医疗美容门诊部在大众点评网上发布医疗美容广告,含有“国产瘦脸针兰州衡力”是一种纯生物制剂...可用于改善面部轮廓...等内容;“进口瘦脸针BOTOX 保妥适”可直接作用于周围运动神经末梢、...阻断乙酰胆碱的释放从而放松肌肉...等宣传内容。据了解,上述商品为毒性药品,不得发布广告。经查,上述行为违反了《广告法》第十五条第一款的规定,构成违法发布医疗用毒性药品广告的行为。
上海市市场监管部门依据《广告法》第五十七条第(二)项的规定,责令上海星和医疗美容门诊部停止发布违法广告,并罚款50万元。


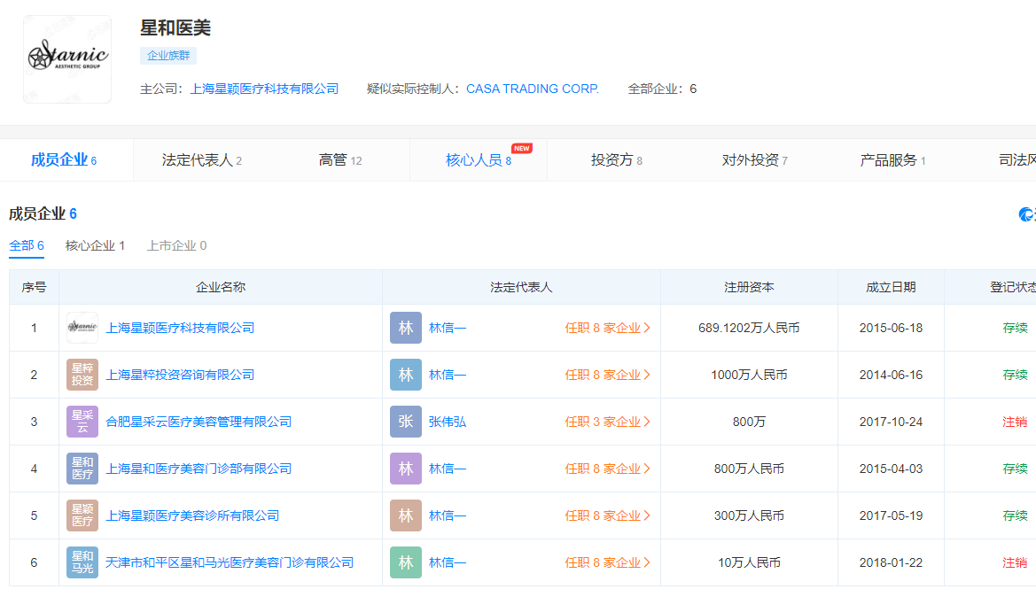
天眼查显示,上海星和医疗美容门诊部有限公司是上海星粹投资咨询有限公司的全额子公司,是上海星颖医疗科技有限公司的孙公司。上海星颖医疗科技有限公司以“星和医美”为企业族群在天津、上海、合肥、广州等全国各地开设了多个主营业务为医疗美容的门诊部。